第3节 Docker实现跨宿主机通信和Docker-compose介绍

跨宿主机通信

利用桥接实现跨宿主机的容器间通信

image-20240612172245590

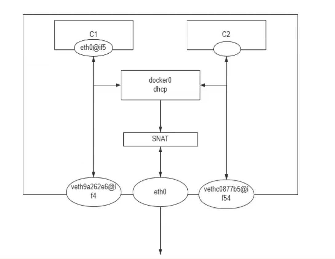
上图有个点:就是br0和eth0默认是没有桥接在一起的,是需要手动connect的。

上图的veth是画在br0上的,下图的veth是画在宿主机上的和eth0同层级的。两者画法存在冲突其实就是必然有一个是错误的理解。我TM都不用懂什么docker就能判断这里一定是错误的一个。通过查看网络文章以及参考GPT得知,下图画法是错误的,应该将veth画在docker0上才对。

image-20240613103425053

恢复默认的网卡吧,什么docker100、wordpress_net网桥 都删掉吧

image-20240612180216068

方法1:手动桥接二层打通

将eth0桥接到docker0

image-20240613111801875

image-20240613111908010

也是属于手动的方法,而且会带来eth0与外界通信中断。

1、制作两个测试的容器C1 和 C3 ,要求两个容器的IP不一样,要求两个容器分别在两个宿主机上。所以C1在192.168.126.132上,C3在192.168.126.133上,C2也在133上先于C3启动抢走172.17.0.2这个IP,专业昂C1就是172.17.0.2,C3就是172.17.0.3,ip区分开来了就。

image-20240613094811826

image-20240613094827369

2、把物理网卡桥接到br0也就是docker0

然后

132宿主上
brctl addif docker0 eth0

133宿主上
brctl addif docker0 eth0

此时C1和C3就通了

image-20240613100940986

image-20240613100952877

但是ssh却断了,初步原因就是因为物理网卡桥接到docker0上了。

估计eth0变成了docker0网络里的ip,docker0是172.17.0.0/16的子网,eth0是192.168.126.132的IP。目前没有找到解决的方法,继续吧。

但是这不是常规手段,仅仅是个测试。

方法2:手动打通3层

将两端的ip子网区分开来,走三层互通

这种方法也不太好,需要修改docker0的网段,需要配置路由--2个宿主就要互指路由,10个宿主你岂不是要full mesh就是90条路由了。

image-20240613112306968

1、修改图中左侧172.17.0.0为172.27.0.0段先

image-20240613112950229

记得重启docker服务

2、互指路由

image-20240613112710496

image-20240613112750303

这就通了

image-20240613112844101

image-20240613112853261

image-20240613114703293

也不用管NAT的事情和iptables的规则,就直接通了。不会说被iptables给挡了,也不存在做什么DNAT。因为docker0的IP本身就是铺在宿主机物理网卡的那一层的。

然后iptables隔离链也是隔离的docker0访问非docker0这个方向的流量,而非docker0访问docker0的是不隔离的,简单来讲就是docker0这些虚拟交换机出去的拒绝,进来的放行的。

image-20240613115637137

看图:docker0 --> !docker0 也即是从docker0里出去的才会命中,才会走下面的DROP,然后下面的DROP反而是进入docker0的拒绝来着。就是说连起来看就是docker0出去回来的包被DROP了。

所以本段的实验是外界直接进入docker0的流量未曾匹配到这个策略 ( 哪个策略呢,就是调用DOCKER-ISOLATION-STAGE-2的父策略--就是上面的红框的策略 ) 所以不会被DROP。

方法3:使用专业的第三方软件解决跨主机通信

主要是K8S里的组件:flannel、calico

也有脱离K8S单独使用的软件。

Docker Compose

本质上就是docker做了二次封装

比如这么一个场景:多个容器先后启动,每个容器还有很多启动参数,你说有runlike知道当时run了那些选项,但是runlike并不是十分好用,里面很多是默认无需care的选项也一并呈现了,然后多个容器的先后启动也无从得知。所以需要一个文本记录这些启动措施。

这些措施涉及:启动顺序、run的参数、这些参数就多了还涉及 网络、存储等。

compse就是解决方案,类似ansbile

ansbile也分:①如果临时执行 就是一条条命令就完了;②如果稍微复杂的任务就不推荐cli的方式了,而是用playbook来写,完了用ansible-playbook调用就行了。

也好比iptables:①iptables 命令一条条加也是临时的;②也可以写到iptables配置文件里,然后统一重启服务就行,或者iptables-save > iptables.rules ; vim iptables.rules; iptables-restore < iptables.rules

docker也是如此:①docker 命令就是之前的docker run这些命令;②docker compose就是配置文件,类似剧本的功能。

为了实现在单机上的综合的复杂项目,于是产生了docker compose

类似Dockerfile一样,有一个默认文件名,compose的默认文件名就是docker-compose.yml或docker-compose.yaml,只要在当前工作目录下就不用指定。

下面学习如何些docker-compose.yml,本质上就是将docker run的命令写到compose里。

docker-compose不是独立的工具,底层是依赖docker的。

docker-compose就是docker命令的脚本化。

docker-compose是单机的解决方案。单机上跑多个容器需要有编排--限执行谁后执行谁。

https://docs.docker.com/compose/

https://docs.docker.com/compose/compose-file/07-volumes/

docker-compose应用场景:①单机咯②大规模还是K8S。主要还是比如办公网的一些服务:vpn、confluence jira、等就可以用独立的宿主+docker+docker-compose来时间,这样简单方便啊,比如公司的gitlab也可以这样玩,没必要说一定要K8S啊。

Copyright 🌹 © oneyearice@126.com 2022 all right reserved,powered by Gitbook文档更新时间: 2024-08-06 11:25:33

results matching ""

    No results matching ""